PELIKAN 50+

Obstoječemu univerzalnemu kotlu Pelikan 50 smo dodali močno železno ogrodje, kolesa za lažje premikanje in ročaj ter mehanizem za nagibanje. Plinski gorilnik je pritrjen na kotlenico. Destilacijski hladilnik ima nespremenjeno vlogo.

HIT JESENI 2018!

Prednosti kotla Pelikan 50

  • majhna poraba vode kot hladilnega sredstva,
  • minimalna poraba plina,
  • preprost nadzor nad temperaturo,
  • enostavna uporaba,
  • zavzame malo prostora,
  • dvojno dno posode je iz nerjaveče pločevine in preprečuje prižiganje,
  • enostaven za transport,
  • enostavno vzdrževanje,
  • vsestranska uporabnost.

Opis in tehnični podatka kotla za žganjekuho

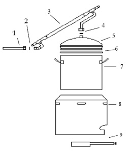
Lonec je umeščen v kotlenico in privarjen z njo. Prekucno je vpet v voznem podnožju z dvema fiksnima in dvema vrtljivima kolesoma. Z vzvodom na kotlenici lahko lonec s kotlenico iz vertikalnega položaja premestimo v položaj za iztek snovi iz lonca. V obeh položajih je lahko gibanje z zatikom zaskočeno.

Enako je za destilacijo nameščena bakrena kapa s cevnim kondenzatorjem usmerjena praviloma stran od bližine ventila plinskega gorilca. Tesnjenje je izvedeno s silikonskim tesnilom nameščenim na bakreni kapi. Plinski gorilec z varnostnim ventilom je znotraj kotlenice vijačen z ventilom skozi odprtino zunaj kotlenice.

PELIKAN 25 PELIKAN 50 PELIKAN 50+
Prostornina lonca 25,5 l 50 l 50 l
Premer lonca 32 cm 40 cm 40 cm
Velikost kotla 40 x 40 x 70 cm 50 x 50 x 80 cm 65 x 65 x 100 cm
Masa z gorilnikom 17 kg 25 kg 43 kg
Sestavni deli kotla za žganjekuhoNavodila za uporabo kotla
Kotel pelikan Kotel pelikan Kotel pelikan Kotel pelikan Kotel pelikan Kuhalnik voščin Kuhalnik voščin Kotel pelikan Kotel pelikan Kotel pelikan Kotel pelikan Kotel pelikan Kotel pelikan Kotel pelikan Kotel pelikan Kotel pelikan Kotel pelikan Kotel pelikan Kotel pelikan Kotli zupanc Kotli zupanc Kotli zupanc Kotli zupanc Kotli zupanc Kotli zupanc Kotel pelikan Kotel pelikan Kotel pelikan Kotel pelikan Kotel pelikan Kotel pelikan Kotel pelikan Kotel pelikan Kotel pelikan Kotel pelikan Kotel pelikan Kotel pelikan Kotel pelikan Kotel pelikan Kotel pelikan Kotel pelikan Kotel pelikan Kotel pelikan Vmesni segment

O KUHANJU ŽGANJA

O kuhanju žganja (povzeto po J. Pischl)

Preberi več
Žganjekuha

POGOSTA VPRAŠANJA

Najpogostejša vprašanja in odgovori.

Preberi več
Pogosta vprašanja